彩页
主打产品:
画册线胶装92P 内200克



  画册胶装52P 内200克 150
  画册胶装60P 200克2500册
  画册线胶装92P 内200
  画册线胶装52P
  画册线胶装36P 200克
  画册胶装60P 200克3000册
实时交易:
    285mm高X210mm宽(..
    订单号:M2016109144308
    金额:7198.00
    画册-长(mm)210-宽(..
    订单号:992016108164002
    金额:2309.00
    画册-长(mm)210-宽(..
    订单号:992016108163829
    金额:6960.00
    285mm高X210mm宽(..
    订单号:M2016107140507
    金额:6870.00
    中秋特刊114p
    订单号:F95522231
    金额:10750.00
    美丽加72p
    订单号:F95055132
    金额:9623.00
    封套
    订单号:F94924515
    金额:3800.00
    吊旗
    订单号:F94820230
    金额:1600.00
    纪念册104p
    订单号:F94712360
    金额:4250.00
    单张
    订单号:F9465515
    金额:1900.00
    封套+单张+折页
    订单号:F94434813
    金额:5550.00
    服装画册40p
    订单号:F94317054
    金额:2100.00
    鲁班股份56p
    订单号:F94214326
    金额:4750.00
    2本画册
    订单号:F94056165
    金额:12150.00
    中秋特刊114p
    订单号:F93758507
    金额:0.00
    服装画册64p
    订单号:F93639053
    金额:4500.00
    单张+折页2款+画册
    订单号:F93430162
    金额:8150.00

    订单号:F9313755
    金额:2700.00

    订单号:F95413320
    金额:12500.00

    订单号:F95333305
    金额:3100.00

    订单号:F95252045
    金额:500.00

    订单号:F95222683
    金额:2600.00

    订单号:F95134246
    金额:1350.00

    订单号:F95049488
    金额:2400.00

    订单号:F94931137
    金额:7900.00

    订单号:F94838543
    金额:1550.00

    订单号:F94752472
    金额:1600.00

    订单号:F94711154
    金额:950.00

    订单号:F94641273
    金额:2850.00

    订单号:F94557381
    金额:500.00

    订单号:F94513876
    金额:750.00

    订单号:F94431114
    金额:11800.00

服务热线:
周一至周六(8:30-21:30)
周日(8:30-18:00)

 

首页 报价新闻 》 画册印刷油墨粘度的控制和调节
画册印刷油墨粘度的控制和调节
更多
发布者:http://www.yiprint.com.cn 发布时间:2013/12/14 11:04:38
    前面介绍过画册印刷油墨的粘度对产质量有极大的关系,因而在生产中对油墨粘度的控制和调节更有它的实际意义。通常为了提高油墨的粘度,在油墨中加入高粘度的#0号调墨油或增粘剂。减低粘度则加入#6号调墨油来达到,但加入#6油其流动性也相应地加大。由于流动性并不可能任意加大,故多数情况下,采用加人凡士林,康帮等,这些都系不干性物质,会减慢油基的干燥速度,所以使用时应加注意。一般还采用加人玉米粉(六角粉)的方法,以降低粘度,虽对印刷油墨干燥无害,但是由于玉米粉颗粒较粗,此重较小,则会使印迹表面粗糙,担害印迹光泽。

   油墨在力(墨刀)的搅拌之下会随之搅拌作用由高粘度降到低粘度,而当停止搅拌,静置以后,粘度又会提高,此种性能称之为画册印刷油墨的触变性。触变性常在不等行粒子中发生,而油墨正是由一系列不等形粒于所粗成,当油墨颗粒与颗粒由于连结料互相的连结,使油墨颗粒前进和旋转停滞和停止,而使油墨颗粒凝聚,但这种凝结程度未完全疑聚,所以当搅拌油墨时,这种拮构即为破坏,而使颗粒之间的运劝加速,使其粘度降低。当停止掩搅拌静置后,再发生颗粒间的重新凝聚,油墨的粘度又逐渐变大。所以墨斗内的油墨要握常境拌,保持其粘度的一致性。

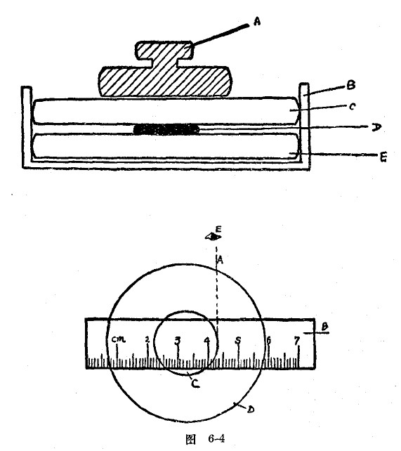
井行玻璃版加压法测定画册印刷的粘度

    印刷画册油墨粘度的测定方法很多,最普通所用的方法为毛细管法(如图6-3),即以一定是油墨流过毛细管时侧定其所需的时简。或用井行玻璃版加压法如图6-4来幻来侧定。对于粘度较小者常采用落球式粘度针来测知。即将油墨盛于玻璃圆筒或纲简中,以一定重量的铜球落入圆筒中,测定其通过试样内一定距离所需的时简而推知其粘度的大小。也有用“荷普雷尔”稠度计(图6-5)和回搏粘度W如图6-6)来侧定。
    目前工厂中较少用仅器来侧定油墨的粘度,在车间实际生产中也不方便,一般采用铜版抵沾取少许油墨相互拖磨粘搭,从拖磨粘搭时墨层分离所需的力的感觉来测定油墨的粘度。
相关阅读:
特种画册印刷的一些方法
画册印刷中印版类别有哪些?
2016艺彩春节放假通知
印刷的颜料有哪几种
精装画册印刷一般需要多久
艺彩一印网,中国最大的印刷电商
最新动态:
画册封面为什么会出现翘起的现象
艺彩一印网野外拓展活动
2016国庆放假通知
画册文件设计常见的问题说明
1000本尺寸330-宽(mm)230mm烫金画册需要多少钱
广州印刷厂书订做

关于我们
广州市艺彩印务有限公司提供专业画册印刷,印刷画册,印刷报价
在线印刷报价,单张印刷,数码印刷,印刷报价系统网络
印刷等服务历经二十年岁月的印刷行业
广州市艺彩印务有限公司网欢迎您
繁体中文
备案号:粤ICP备11098240号-1
Copyright @2015 广州市艺彩印务有限公司
快捷导航
联系方式


YiPrint@yiprint.com.cn
4008-600-613
广州市海珠区新业路47号
New Yip Road Haizhu District 47



艺彩印博士